香港e特快时效怎么样?最近时效参考
来源:红旗速运
更新时间:2020-11-25
点击数:
香港e特快时效最近怎么样呢?
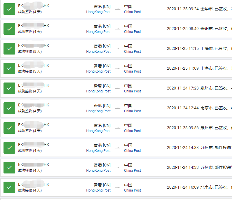
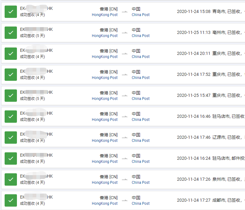
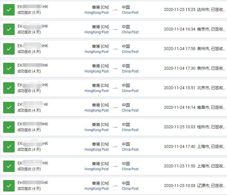
香港直邮是不是一直都很快呢?今天给大家看看到全国各地的时效,昨天和今天签收的,给大家参考一下。
香港e特快一直是香港直邮的主力渠道,长期稳定顺畅,给了大家非常好的直邮体验,红旗速运根据自己的发货数据给大家一些大概参考,不代表所有货物都是这个时效,但是大多时效都还是有参考价值的,时效也基本都很稳定。希望能给大家带来更好的直邮体验。










上面图片大多是24号和25号签收的包裹,大家可以参照一下,基本到全国各地的都有了。大家可以参照这个时效再加上香港打包发货的时间大概算一下。
红旗速运长期专注香港e特快,给大家提供非常专业的直邮服务,欢迎快递,集运,物流,电商,本地商家,专柜,其他收货点合作,同时也支持海外代购,香港代购,海淘等各种个人物品发货,更多香港e特快相关资讯可以关注红旗速运官网和公众号,大家也可以百度或者google搜索香港e特快或者红旗速运了解更多信息。








